Speakerplans.com Homepage
Forum Home Forum Home > Plans > New Projects Forum
  New Posts New Posts RSS Feed - Danley BC series (BC215, BC415, BC218)
  FAQ FAQ  Forum Search   Events   Register Register  Login Login

Danley BC series (BC215, BC415, BC218)

 Post Reply Post Reply Page  <1234>
Author
Message
Keen View Drop Down
Young Croc
Young Croc
Avatar

Joined: 30 May 2011
Location: Brisbane, Aus
Status: Offline
Points: 1271
Post Options Post Options   Thanks (0) Thanks(0)   Quote Keen Quote  Post ReplyReply Direct Link To This Post Posted: 21 August 2024 at 2:11am
Introduce yourself, tell us about your plans and/or current setup first. Thumbs Up
Back to Top
PTSD View Drop Down
Registered User
Registered User


Joined: 09 August 2024
Status: Offline
Points: 12
Post Options Post Options   Thanks (0) Thanks(0)   Quote PTSD Quote  Post ReplyReply Direct Link To This Post Posted: 27 August 2024 at 3:40pm
Ok Sh**t... Wrote a rly long detailed response and reload the page and all is gone...
But happy to tell more this time a bit shorter haha
Dutch based and I build as a hobby a Soundsystem with my friends/crew.
Currently still at a early stage.

Tops: JBL HLA 4895 x4 so currently run 2 pairs in stereo but planning to get more potentially in the future.
Amps are all Crest CA but also a few Crest pro series (old once).
DSP are London soundweb Blu series but also got a Xilica XP4080 and a XTA448 not yet fully decided what to use in the filed but tend towards London soundweb atm.
FOH mixer: Midas U16

System mainly used for electronic music anywhere from slow to very fast (BPM in the hundreds) both low and high distortion music.

Subwoofer section is atm still fully missing which is why I am asking here because I was very happy when I heard the old bDEAP subwoofer Tom designed before the BC series.
The combination of High sensitivity and directivity without the need to use cardiod... Makes me especially intrested into this design besides the fact that I found the sound characteristic the last time I heard them very convincing them being able to play quite high having for my oppinion a nice transient response and "kick/punch" characteristic (ofcause not unique but still). And the distortion characteristics if I remember where also rather nice not being high especially when crossover the subwoofer somewhat higher.

So obviously I can't afford due to it being a hobby besides UNI to buy real BC subs and bDEAPs being not available atall in Europe knowing only a single person who owns them personally.

So because of that I look for plans simmilar to these designs. I like the fact that the Bdeap used 12 inch drivers with the only negative aspect being that they are not designed to be layed on their sides like the BC215. (Because the JBL HLA are quite big so I need a bit base to place them on)

So anyways I hoped that maybe here someone was able to design a subwoofer of simmilar character that he might be willing to share with me because my personal simulation skills in AKABAK... Are still quite limited and I wouldn't know how to model and design subs like these.

Hope this answers some of ya questions if not... please feel free to ask.


Back to Top
fudge22 View Drop Down
Registered User
Registered User


Joined: 26 July 2022
Location: UK
Status: Offline
Points: 263
Post Options Post Options   Thanks (0) Thanks(0)   Quote fudge22 Quote  Post ReplyReply Direct Link To This Post Posted: 27 August 2024 at 8:15pm

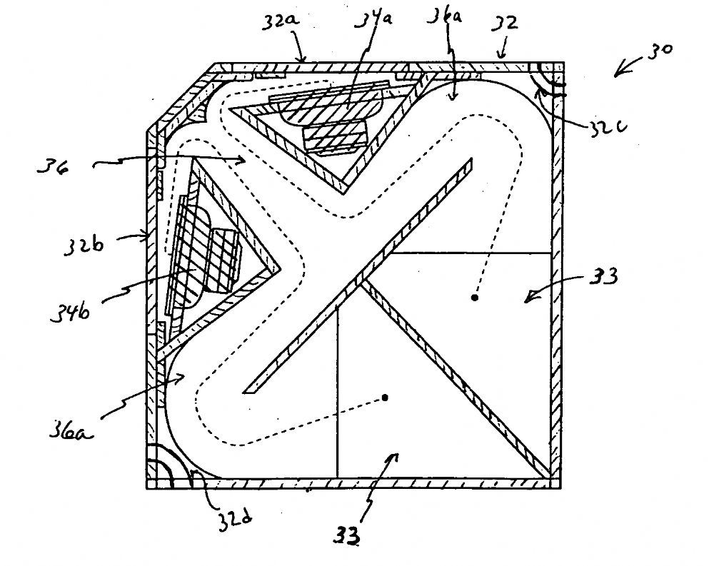
This is from the patent, so in the public domain.



The shelved response is probably why it sounds punchy.


< ="text/">p { line-height: 115%; margin-bottom: 0.25cm; background: transparent }

< ="text/">p { line-height: 115%; margin-bottom: 0.25cm; background: transparent }
Back to Top
Contour View Drop Down
Young Croc
Young Croc


Joined: 03 March 2004
Status: Offline
Points: 677
Post Options Post Options   Thanks (0) Thanks(0)   Quote Contour Quote  Post ReplyReply Direct Link To This Post Posted: 27 August 2024 at 9:18pm
This BDeap uses drivers which must be very close to the Eminence LAB12 as used for LABhorn, since both were developed same time by Danley. 
Back to Top
PTSD View Drop Down
Registered User
Registered User


Joined: 09 August 2024
Status: Offline
Points: 12
Post Options Post Options   Thanks (0) Thanks(0)   Quote PTSD Quote  Post ReplyReply Direct Link To This Post Posted: 27 August 2024 at 10:33pm
Yea I already considered to just build the Bdeap because of the puplic domain. Just currently don't have the exact internal dimensions because the patent paper only includes the layout and ya can figure out the horn length but exact once might be ofcause best.

The only issue with them are that I would need to use for example scaffolding for the tops because the tops are 800mm deep with the Bdeap being quite short in the depth (something like 600mm? Or soemthing like that)
So a modified version which would allow to lay them on the side like the bc115 would be ideal but wouldn't know what's the way to design the modification altho I can imagine there prob some not too complex maybe.

And yea I guess it's the respondse which also goes white high and the amount of air 4 of these stacked once can push in such an small area.
Back to Top
PTSD View Drop Down
Registered User
Registered User


Joined: 09 August 2024
Status: Offline
Points: 12
Post Options Post Options   Thanks (0) Thanks(0)   Quote PTSD Quote  Post ReplyReply Direct Link To This Post Posted: 27 August 2024 at 10:36pm
Are there currebtly alternatives to consider because the lab12 are still available?
Back to Top
asaa00 View Drop Down
Registered User
Registered User
Avatar

Joined: 28 January 2008
Location: Los Angeles
Status: Offline
Points: 365
Post Options Post Options   Thanks (0) Thanks(0)   Quote asaa00 Quote  Post ReplyReply Direct Link To This Post Posted: 28 August 2024 at 12:58am
Do you know the total dimensions for the box? I can figure out the internals based on this pic and those measurements
Back to Top
Meat Substitute View Drop Down
Registered User
Registered User
Avatar

Joined: 10 July 2020
Status: Offline
Points: 125
Post Options Post Options   Thanks (0) Thanks(0)   Quote Meat Substitute Quote  Post ReplyReply Direct Link To This Post Posted: 28 August 2024 at 6:40am
I'm not sure this has been cited in this thread but BDEAP clones were done by members more than a decade ago.

Back to Top
PTSD View Drop Down
Registered User
Registered User


Joined: 09 August 2024
Status: Offline
Points: 12
Post Options Post Options   Thanks (0) Thanks(0)   Quote PTSD Quote  Post ReplyReply Direct Link To This Post Posted: 28 August 2024 at 10:45am
Oh haha I never saw that thread normally looked at all of them but yea this one also don't got the messurments but there was one on another forum where they already made a guess but it was too uncertain for me.

But I got outside messurments somehwere I think I will take a look atlest i can share them from the tech sheet already the others are maybe on a hard drive I can't access atm
Back to Top
PTSD View Drop Down
Registered User
Registered User


Joined: 09 August 2024
Status: Offline
Points: 12
Post Options Post Options   Thanks (0) Thanks(0)   Quote PTSD Quote  Post ReplyReply Direct Link To This Post Posted: 28 August 2024 at 10:52am
Originally posted by asaa00 asaa00 wrote:

Do you know the total dimensions for the box? I can figure out the internals based on this pic and those measurements


http://www.best4show.com/files/produkte_2_SPL-Bdeap-32.pdf

Here is the tech sheet  and I just realised I talked totally BS above about the depth... Excuse me.

106x106x46 cm

The mouth size I atm can't find but I could calc it from just a pic I guess. Question is always how much the internal varies from the patent registration.
Back to Top
Contour View Drop Down
Young Croc
Young Croc


Joined: 03 March 2004
Status: Offline
Points: 677
Post Options Post Options   Thanks (0) Thanks(0)   Quote Contour Quote  Post ReplyReply Direct Link To This Post Posted: 28 August 2024 at 4:39pm
Just start a cad drawing using those dimensions, and see if you can fit LAB 12 drivers in there, just as shown. If that fits, most other dimensions should also be close to reality. 
Back to Top
Keen View Drop Down
Young Croc
Young Croc
Avatar

Joined: 30 May 2011
Location: Brisbane, Aus
Status: Offline
Points: 1271
Post Options Post Options   Thanks (0) Thanks(0)   Quote Keen Quote  Post ReplyReply Direct Link To This Post Posted: 29 August 2024 at 9:36am
Perhaps consider the Ciare 12.00SW, B&C 12BG100/12FG100 or the Celestion FTR12-4080DL, Because these designs will allow the use of a much larger chamber than the LAB SUB, the Lab12 driver is not required. Preference would lye with Ciare or Celestion and make use of the available xmax. 




Edited by Keen - 29 August 2024 at 9:38am
Back to Top
 Post Reply Post Reply Page  <1234>

Forum Jump Forum Permissions View Drop Down

Forum Software by Web Wiz Forums® version 12.08
Copyright ©2001-2026 Web Wiz Ltd.